Microsoft quiere apuntarse a los plegables de doble bisagra
Parece que la idea de Samsung ha gustado.

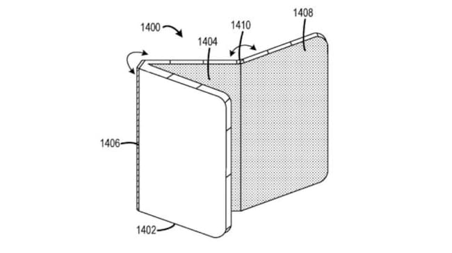
Nueva patente de doble bisagra de Microsoft. / Microsoft
Una patente que le acaban de conceder a Microsoft sugiere que está intentando fabricar un nuevo dispositivo con doble plegado, de forma similar a uno que se vio por parte de Samsung hace unos días.
La compañía creada por Bill Gates lanzó su último teléfono con doble pantalla, el Surface Duo 2, en el mes de septiembre, pero una patente descubierta por ‘Patently Apple’ indica que quieren ir más allá. Esto supone crear un dispositivo con dos bisagras, que conectaría tres pantallas separadas. La patente se aprobó el 23 de diciembre, a pesar de haberla pedido el año pasado.

Nueva patente de doble bisagra para Microsoft. / Patentes USA

Nueva patente de doble bisagra para Microsoft. / Patentes USA
Como el teléfono que tiene en mente Samsung, esas tres pantallas se combinarían para formar una sola pantalla de Tablet gigante. El beneficio de este diseño es que estos paneles pueden apilarse unos encima de otros, reduciendo el tamaño que tienen estos dispositivos plegables en general.
LOS40
LOS40
Esto sería posible gracias a bisagras pivotantes, que permitirían a la pantalla principal permanecer en la parte exterior del terminal, de forma parecida a como era el Huawei Mate X. Esto resultaría en un teléfono bastante grueso, pero que extendido daría una pantalla realmente grande.
Sin embargo, de forma contraria a la patente de Samsung, esta de Microsoft no tiene detalles adicionales acerca del posicionamiento de los circuitos, los sensores o las cámaras. Es decir, parece un producto en el que aún hay que trabajar bastante.
Y como decimos normalmente, las patentes no siempre son indicativo de que el producto va a salir adelante. Microsoft entró en el mundo de la telefonía plegable en 2019, dos años después de que sus patentes originales salieran a la luz en 2017, y el hecho de que Samsung esté jugando con una idea similar sugiere que el futuro de los plegables podría pasar por ahí.
Un teléfono plegable por dos sitios suena bastante útil en teoría, pero Microsoft necesita pulir aún más sus smartphones de doble pantalla antes de subir de nivel. El Surface Duo 2 mejoró su hardware respecto al primero, y lo convirtió en algo que si queremos llevar en el bolsillo.

Duo 2 / Microsoft

Duo 2 / Microsoft
La experiencia se veía algo perjudicada, eso sí, por culpa de algunos bugs en el hardware, como bloqueos y congelaciones de pantalla, además de una vida de la batería bastante limitada.
Como superaría Microsoft estos problemas para un dispositivo de tres pantallas no se explica con una patente, pero no queda otra que esperar a que algún día salga a la luz.
Luis J. Merino
Técnico de sonido, melómano y amante de los dos pilares fundamentales del entretenimiento: cómic y videojuegos....












